5. Installatie
Om het bedieningspaneel te installeren, is het volgende nodig:
- Gebruik een RJ45 UTP-kabel om het bedieningspaneel aan te sluiten op de omvormer/acculader. De kabel is beschikbaar in een variatie aan lengtes (30 cm tot 30 m) en is niet inbegrepen bij het bedieningspaneel. 
- Als de aggregaatsteunfunctionaliteit gebruikt wordt zijn twee draden vereist om het bedieningspaneel aan te sluiten op de omschakelautomaat. Gebruik draden met een dikte tussen 0,25 en 1,0 mm². Deze draden zitten niet inbegrepen in het bedieningspaneel. 
- Als het paneel niet in een uitsparing gemonteerd kan worden, dan is wellicht een muurmontagebehuizing nodig voor 65 x 12 0mm GX-panelen. 
5.1. Montage
Er zijn drie manieren om het paneel te monteren:
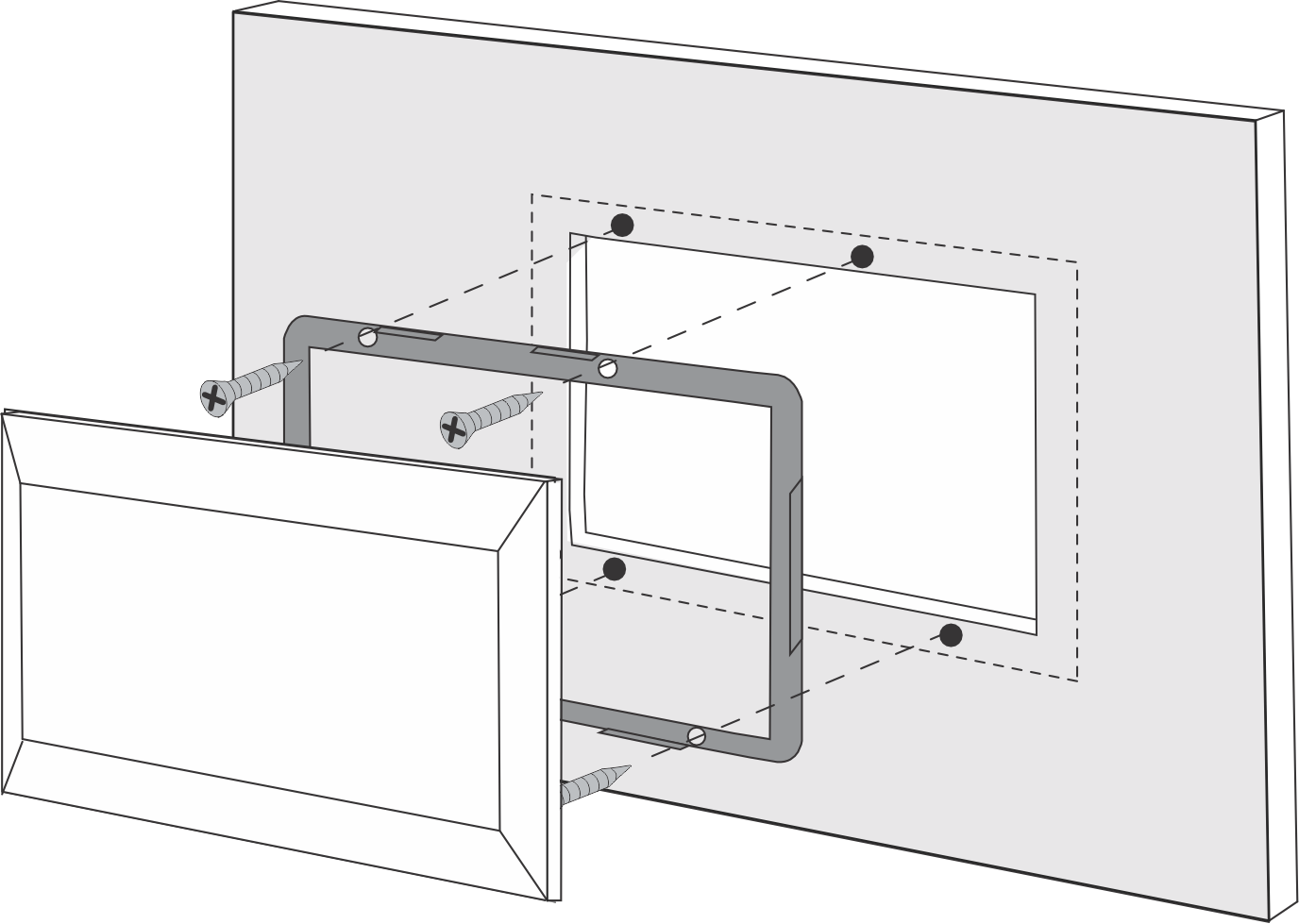
- Uitsparing voor -bevestig de metalen plaat aan de voorkant van het oppervlak via vier schroeven (inbegrepen). Plaats dan het paneel op de metalen plaat. Raadpleeg onderstaande afbeelding. 
- Uitsparing achter - Bevestig het paneel langs achter met vier M5-schroeven of bouten (niet inbegrepen). De metalen plaat wordt niet gebruikt. Raadpleeg onderstaande afbeelding. 
- Muurmontage - Gebruik de muurmontagebehuizing voor 65 x 120 mm GX-panelen. Volg die installatiehandleiding. 
|  | 
|  | 
Links: Bevestigen aan voorkant. Rechts: bevestigen aan achterkant.
Raadpleeg voor bedieningspaneelafmetingen en plaatsen van montagegaten, het Afmetingen hoofdstuk.
5.2. Omvormer/acculader aansluiting
Gebruik een gewone rechte UTP-kabel met RJ45-connectoren om het bedieningspaneel aan te sluiten op de omvormer/acculader of het omvormer/acculadersysteem. Als er meerdere apparaten zijn, sluit het bedieningspaneel dan aan op één van de apparaten met een beschikbare niet-gebruikte RJ45-poort.
Opmerking: Sluit, in het geval van een pre-VE.Bus meervoudig eenheid-systeem, het bedieningspaneel aan op de master eenheid.
5.3. Aansluitien van externe omschakelautomaat
Als een externe omschakelautomaat gebruikt wordt, sluit het hulprelais dan aan op de schroefconnectorklemmen op de achterkant van het bedieningspaneel. Als het hulprelais open is, kan de AC-stroomlimiet aangepast worden door de bedieningspaneelknop. Als het hulprelais gesloten is, stuurt het bedieningspaneel een vooraf ingestelde aggregaat AC-stroomlimiet naar het omvormer/acculader-systeem. Het hulprelais wordt bediend door de externe omschakelautomaat.
|  | 
Aansluiting omschakelautomaat.