5. Installazione
Per installare il pannello di controllo è necessario quanto segue:
Utilizzare un cavo UTP RJ45 per collegare il pannello di controllo all'inverter/caricabatterie. Il cavo è disponibile in diverse lunghezze (da 30 cm a 30 m) e non è in dotazione con il pannello di controllo.
Se si utilizza la funzionalità di supporto del generatore, sono necessari due cavi per collegare il pannello di controllo all'interruttore di trasferimento. Utilizzare cavi di spessore compreso tra 0,25 e 1,0 mm². Questi cavi non sono in dotazione con il pannello di controllo.
Se il pannello non può essere montato a incasso, potrebbe essere necessaria una carcassa di montaggio a parete per pannelli GX da 65 x 120 mm .
5.1. Montaggio
Il pannello può essere montato in tre modi:
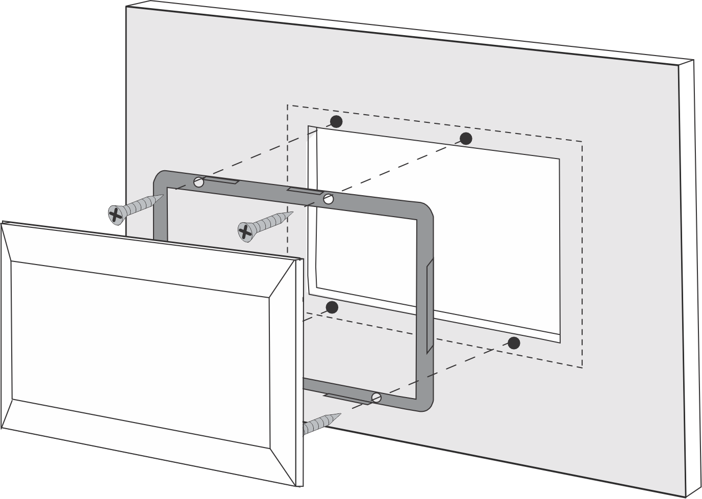
Vano anteriore: fissare la piastra metallica alla parte anteriore della superficie utilizzando quattro viti (in dotazione). Quindi, posizionare il pannello sulla piastra metallica. Vedere l'immagine sottostante.
Vano posteriore: Fissare il pannello da dietro con quattro viti o bulloni M5 (non in dotazione). Non si utilizza la piastra metallica. Vedere l'immagine sottostante.
Montaggio a parete: Utilizzare la carcassa di montaggio a parete per i pannelli GX da 65 x 120 mm. Seguire la guida all'installazione.
![]() |
![]() |
A sinistra: Fissaggio dal davanti. A destra: fissaggio dal retro.
Per le dimensioni del pannello di controllo e le posizioni dei fori di montaggio, consultare il capitolo Dimensioni.
5.2. Collegamento dell’inverter/caricabatterie
Per collegare il pannello di controllo all'inverter/caricabatterie o al sistema inverter/caricabatterie, utilizzare un normale cavo UTP diritto con connettori RJ45. Se ci sono più unità, collegare il pannello di controllo a qualsiasi unità che abbia una porta RJ45 inutilizzata e disponibile.
Nota: Nel caso di un sistema pre-VE.Bus a più unità, collegare il pannello di controllo all'unità master.
5.3. Collegamento dell'interruttore di trasferimento esterno
Se si utilizza un interruttore di trasferimento esterno, collegare il suo relè ausiliare ai morsetti del connettore a vite sul retro del pannello di controllo. Quando il relè ausiliare è aperto, il limite di corrente CA può essere regolato dalla manopola del pannello di controllo. Se il relè ausiliare è chiuso, il pannello di controllo invia all'inverter/sistema di caricabatterie un limite di corrente CA del generatore preimpostato. Il relè ausiliare è controllato dall'interruttore di trasferimento esterno.
![]() |
Collegamento dell’interruttore di trasferimento.


