5. Installation
Pour installer le tableau de commande, vous aurez besoin des éléments suivants :
Utilisez un câble RJ45 UTP pour connecter le tableau de commande au convertisseur/chargeur. Le câble est disponible en différentes longueurs (30 cm à 30 m) et n’est pas fourni avec le tableau de commande.
Si vous utilisez la fonction de prise en charge des générateurs, deux fils sont nécessaires pour connecter le tableau de commande au commutateur de transfert. Utilisez des fils d’une épaisseur comprise entre 0,25 et 1,0 mm². Ces fils ne sont pas fournis avec le tableau de commande.
Si le tableau ne peut pas être encastré, un boîtier de montage mural pour panneaux GX 65 x 120 mm peut être nécessaire.
5.1. Montage
Il y a trois façons de monter le tableau :
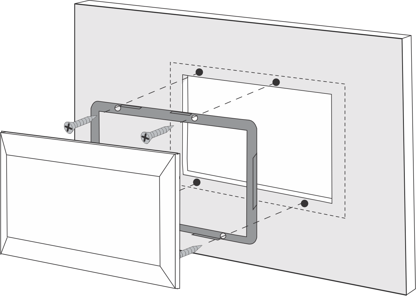
Encastrement frontal - fixez la plaque métallique à l’avant de la surface à l’aide de quatre vis (incluses). Placez ensuite le tableau sur la plaque métallique. Voir l’image ci-dessous.
Encastrement arrière - Fixez le tableau par l’arrière à l’aide de quatre vis ou boulons M5 (non fournis). La plaque métallique n’est pas utilisée. Voir l’image ci-dessous.
Montage mural - Utilisez le boîtier de montage mural pour panneaux GX de 65 x 120 mm. Suivez son guide d’installation.
![]() |
![]() |
À gauche : fixation par l’avant. À droite : fixation par l’arrière
Pour les dimensions du tableau de commande et l’emplacement des trous de montage, reportez-vous au chapitre Dimensions.
5.2. Raccordement du convertisseur/chargeur
Utilisez un câble droit UTP ordinaire avec des connecteurs RJ45 pour connecter le tableau de commande au convertisseur/chargeur ou au système convertisseur/chargeur. S’il y a plusieurs unités, connectez le tableau de commande à n’importe quelle unité disposant d’un port RJ45 inutilisé.
Remarque : dans le cas d’un système pré-VE.Bus à unités multiples, connectez le tableau de commande à l’unité maître.
5.3. Connexion d’un commutateur de transfert externe
Si un commutateur de transfert externe est utilisé, connectez son relais auxiliaire aux bornes du connecteur à vis situées à l’arrière du tableau de commande. Lorsque le relais auxiliaire est ouvert, la limite de courant CA peut être réglée à l’aide du bouton du tableau de commande. Si le relais auxiliaire est fermé, le tableau de commande envoie au système convertisseur/chargeur une limite de courant CA préréglée pour le générateur. Le relais auxiliaire est contrôlé par le commutateur de transfert externe.
![]() |
Connexion du commutateur de transfert.


